- 鋰離子電池智能充電器設計
- 低電流調節階段
- 恒流階段
- 恒壓階段/充電終止
鋰離子電池具有較高的能量重量和能量體積比,無記憶效應,可重復充電次數多,使用壽命長,價格也越來越低。一個良好的充電器可使電池具有較長的壽命。利用C8051F310單片機設計的智能充電器,具有較高的測量精度,可很好的控制充電電流的大小,適時的調整,并可根據充電的狀態判斷充電的時間,及時終止充電,以避免電池的過充。
本文討論使用C8051F310器件設計鋰離子電池充電器的。利用PWM脈寬調制產生可用軟件控制的充電電源,以適應不同階段的充電電流的要求。溫度傳感器對電池溫度進行監測,并通過AD轉換和相關計算檢測電池充電電壓和電流,以判斷電池到達哪個階段。使電池具有更長的使用壽命,更有效的充電方法。
設計過程
1充電原理
電池的特性唯一地決定其安全性能和充電的效率。電池的最佳充電方法是由電池的化學成分決定的(鋰離子、鎳氫、鎳鎘還是SLA電池等)。盡管如此,大多數充電方案都包含下面的三個階段:
●低電流調節階段
●恒流階段
●恒壓階段/充電終止
所有電池都是通過向自身傳輸電能的方法進行充電的,一節電池的最大充電電流取決于電池的額定容量(C)例如,一節容量為1000mAh的電池在充電電流為1000mA時,可以充電1C(電池容量的1倍)也可以用1/50C(20mA)或更低的電流給電池充電。盡管如此,這只是一個普通的低電流充電方式,不適用于要求短充電時間的快速充電方案。
現在使用的大多數充電器在給電池充電時都是既使用低電流充電方式又使用額定充電電流的方法,即容積充電,低充電電流通常使用在充電的初始階段。在這一階段,需要將會導致充電過程終止的芯片初期的自熱效應減小到最低程度,容積充電通常用在充電的中級階段,電池的大部分能量都是在這一階段存儲的。在電池充電的最后階段,通常充電時間的絕大部分都是消耗在這一階段,可以通過監測電流、電壓或兩者的值來決定何時結束充電。同樣,結束方案依賴于電池的化學特性,例如:大多數鋰離子電池充電器都是將電池電壓保持在恒定值,同時檢測最低電流。鎳鎘、NiCd電池用電壓或溫度的變化率來決定充電的結束時間。

圖1鋰離子電池充電模塊圖
充電時部分電能被轉換成熱能,直至電池充滿。而充滿后,所有的電能將全部被轉換成熱能。如果此時不終止充電,電池就會被損壞或燒毀??焖俪潆娖麟姵兀ㄍ耆錆M的時間小于兩小時的充電器)則可以解決這個問題,因為這些充電器是使用高充電電流來縮短充電時間的。因此,對于鋰離子電池來說,監測它的溫度是至關重要的,因為電池在過充電時會發生爆裂,在所有的充電階段都應該隨時監測溫度的變化,并且在溫度超過最大設定值時立即停止充電。
2總體設計
充電電路由三部分:控制部分,檢測部分及充電部分組成。如圖1所示,采用F310單片機進行充電控制,單片機本身具有脈寬調制PWM型開關穩壓電源所需的全部功能,具有10位A/D轉換器。利用單片機A/D端口,構成電池電壓,電流,溫度檢測電路。
單片機通過電壓反饋和電流反饋信號,直接利用PWM輸出將數字電壓信號并轉化成模擬電壓信號,能夠保證控制精度。
3控制部分電路設計
C8051F310單片機
①模擬外設
a.10位ADC:轉換速度可達200ks/s,可多達21或17個外部單端或差分輸入,VREF可在外部引腳或VDD中選擇,內置溫度傳感器(±3℃),外部轉換啟動輸入;
b.兩個模擬比較器:可編程回差電壓和響應時間,可配置為中斷或復位源,小電流(〈0.5μA)。
②供電電壓
a.典型工作電流:5mA、25MHz;
b.典型停機電流:0.1μA;
c.溫度范圍:-40~+85℃。
③高速8051微控制器內核
a.流水線指令結構:70%的指令的執行時間為一個或兩個系統時鐘周期;
b.速度可達25MI/s(時鐘頻率為25MHz時);
c.擴展的中斷系統。
④數字外設
a.29/25個端口I/O:所有的口線均耐5V電壓;
b.4個通用16位計數器/定時器;
c.16位可編程計數器/定時器陣列(PCA),有5個捕捉/比較模塊;
d.使用PCA或定時器和外部時鐘源的實時時鐘方式。
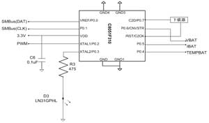
控制電路中如圖2所示,P0.3口提供充電電源,P0.6口檢測充電電壓的大小,P0.5口檢測充電電流的大小,P0.4口檢測電池的溫度。
充電電流由單片機脈寬調制PWM產生,充電電流由AD轉換再經過計算得出。[page]
4充電部分及檢測部分電路設計

圖2控制電路接線圖

圖3充電電路與檢測電路圖
圖3為充電電路與檢測電路圖。
①充電過程曲線

圖4鋰電池充電曲線
如圖4所示,充電過程由預充狀態,恒流充電狀態和恒壓充電狀態組成。
②快速轉換器
實現漸弱終止充電器的最經濟的方法就是用一個快速轉換器。快速轉換器是用一個電感和/或一個變壓器(需要隔離的時候用變壓器)作為能量存儲單元以離散的能量包的形式將能量從輸入傳輸至輸出的開關調節器反饋電路,通過晶體管來調節能量的傳輸,同時也作為過濾開關,以確保電壓或電流在負載時保持恒定。


a開關閉合 b開關打開
圖5快速轉換器操作
快速調節器的操作是通過控制一個晶體管開關的占空比來實現的。占空比會自動增加以使電池流入更多的電流。當VBATT<VREF時,一個比較器會將開關閉合(參見圖5a),電流流入電池和電容C,這個電流同時也存儲在電感L中。VBATT持續升高,直到超過VREF,調節此時比較器將開關斷開(參見圖5b),存儲在電感中的電流迅速下降直到二極管偏置,使得電感電流以減速度流入電池,電容C在電感電流衰減后開始放電。并且最后VBATT開始下降,當VBATT低于VREF時,比較器再次將開關閉合并開始另一次循環。在較大的范圍內如果減小占空縮短閉合的時間,平均電壓就會下降,反之亦然。因此可以通過控制占空比的方法調節電壓或電流至所需要的值。
③電感的確定
電感對交流電是有阻礙作用的。在交流電頻率一定的情況下,電感量越大,對交流電的阻礙能力越強,電感量越小,其阻礙能力越小。另外,在電感量一定的情況下,交流電的頻率越高,電感對交流電的阻礙能力越大,頻率越低,電感對交流電的阻礙能力越小。也就是說,電感有阻止交流電通過的特性。
其工作原理是這樣的:當負載兩端的電壓要降低時,通過MOSFET場效應管的開關作用,外部電源對電感進行充電并達到所需的額定電壓。當負載兩端地電壓升高時,通過MOSFET場效應管的開關作用,外部電源供電斷開,電感釋放出剛才充入的能量,這時電感就變成了電源繼續對負載供電。隨著電感上存儲的能量地消耗。負載兩端的電壓開始逐漸降低,外部電源通過MOSFET場效應管的開關作用又要充電。依次類推在不斷的充電和放電的過程中形成了一種穩定的電壓,永遠使負載兩端地電壓不會升高也不會降低,這就是開關電源的最大優勢。
要確定快速轉換器中電感的大小首先應假定晶體管的占空比為50%,因為此時的轉換器操作操作效率最高。占空比由方程式1給出:
(其中T是PWM的周期在程序示例中T=10.5s)
占空比=ton/T(1)
至此就可以選擇一個PWM的轉換頻率(如方程式2所示)PWM的轉換頻率越大,則電感的值越小,也越節約成本。
我的示例代碼配置F310的8位硬件PWM是使用內部24.5MHz主時鐘的256分頻來產生一個95.7kHz的轉換速率。
L=(Vi-Vsat-Voton)/2Iomax(2)
現在我們可以計算電感的大小了,假定充電電壓Vi的值為15V,飽和電壓Vsat的值為0.5V,需要獲得的輸出電壓值為4.2V,并且最大輸出電流IOMAX為1500mA,那么,電感的值至少應選為18H。
需要注意的是:在本電路中的電容僅僅是一個紋波衰減器,因為紋波與電容的大小成反比例關系,所以電容的值越大,衰減效果越好。




