【導讀】在嵌入式系統設計中設計電路板的電源部分時,很容易從目錄中選擇標準模塊。如今,許多供應商提供各種優質產品,無論是隔離磚還是非隔離負載點模塊 (POL)。
在嵌入式系統設計中設計電路板的電源部分時,很容易從目錄中選擇標準模塊。如今,許多供應商提供各種優質產品,無論是隔離磚還是非隔離負載點模塊 (POL)。
效率高、質量和可靠性好、成本有競爭力——您還想要什么?但與往常一樣,事情并不像看起來那么簡單。盡管使用標準模塊的電源系統在許多情況下可能是一個很好的解決方案,但定制設計通常可以以更低的成本提供更好的性能。本文探討了在使用標準或自定義解決方案之間進行明智權衡時涉及的一些問題。
電源要求
在本次討論中,我們將考慮使用分布式電源架構的產品中的典型卡電源系統,其中每張卡的輸入電壓為 -48V。這種電源架構在電信和高端計算應用中非常常見,并在電信計算架構 (ATCA) 設備標準中進行了指定。
在大多數應用中,分布式電源系統中使用的每個卡必須在-48V 輸入和低壓輸出之間提供電氣隔離,以滿足安全要求。下面的表 1列出了該示例的基本要求。
表1“卡電源系統要求
輸入要求由應用程序設置,并且通常對于系統中的每張卡來說都是通用的。每張卡的其他要求都不同,以適應所使用的組件。
標準模塊解決方案
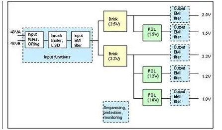
下面的圖 1 顯示了使用標準電源模塊滿足上表 1 中的電源要求的可能解決方案。在此示例中,兩個磚塊用于高功率輸出,而 POL 模塊用于其他三個輸出。這樣效率高,并且可以輕松滿足2.5V先于3.3V啟動的要求。
圖1 “使用標準模塊的卡上電源系統
請注意,磚塊功率輸出必須足以驅動 POL 以及直接輸出。假設 POL 的效率為 90%,則 2.5V 磚輸出必須至少為 19A(17A 直接加上 1.5V POL 的 2A)。同樣,3.3V 磚必須至少為 17A(11A 直接加上 1.2V 和 1.8V POL 的 5.7A)。
這種設計方法具有設計時間短的優點,并且可以從多個供應商處獲得各種磚和 POL。如果需要,可以在開發過程中使用不同的模塊輕松更改輸出電壓或電流。然而,brick 和 POL 在啟動和故障期間獨立運行。
需要外部電路來滿足輸入啟動和關閉、浪涌電流限制、輸出排序和保護的系統規格。對于噪聲敏感的應用,可能需要將電源電路開關頻率與系統時鐘同步,但這不能用標準塊或 POL 來完成。每個模塊都有自己的頻率,每個供應商都不同。
由于磚塊和 POL 僅適用于特定功率級別,因此通常需要選擇輸出功率略高于卡所需的模塊。還必須正確考慮應用中所需的熱降額,每個供應商的熱降額可能有所不同,并且這使得多個來源的變得復雜。因此,并且由于需要外部電路,使用標準模塊的電源系統通常比定制解決方案更昂貴。
定制電源解決方案
作為標準模塊的替代方案,定制電源解決方案提供了優化設計以準確滿足卡需求的可能性。下面的圖 2 顯示了滿足相同卡電源要求的定制電源模塊(見表 1)。該電源模塊包括所有 DC-DC 轉換和隔離功能以及排序和保護功能,取代了之前圖 1 中使用的磚塊和 POL。
圖 2 – 定制卡上電源模塊
請注意,本示例中的輸入功能不包含在定制電源模塊中。這使得 EMI 濾波可以在系統集成測試期間輕松優化,而無需重新設計電源模塊,對于噪聲敏感應用來說是一種很好的方法。
在其他應用中,噪聲過濾可能不太重要,電源模塊可以包括輸入功能,如下圖 3所示。即使在這種情況下,輸入保險絲通常位于模塊外部,因為它們必須盡可能靠近卡輸入連接器放置以滿足安全要求。
圖3“完全定制的卡上電源解決方案
定制設計方法避免了功能重復,并允許優化電源電路,以的成本滿足卡的要求。模塊設計可以保證輸出排序和故障保護,并且可以通過從單個時鐘驅動所有功率轉換級來降低開關噪聲。
此外,定制電源模塊比標準模塊需要更少的 PCB 面積,并且可以優化物理封裝(尺寸、引腳排列、安裝、冷卻)以適應應用。然而,需要大量的設計時間和精力,因此這種方法更適合中到大批量應用。
分立電源解決方案
另一種選擇是將電源組件直接安裝在卡上,而不是使用單獨的電源模塊。可以優化設計以準確滿足卡的需求,并且可以通過消除電源模塊 PCB 來降低材料成本。
如下圖 4所示,該框圖與圖 3 中的完整自定義模塊基本相同。但是,用于實現功能的組件可能會有顯著不同,因為它們必須與整個卡組裝流程兼容。
圖4“分立電源電路
例如,通常不可能像電源模塊那樣在 PCB 內嵌入平面變壓器或功率電感器。PCB 的層數和銅厚度也可能使其不太適合用作功率半導體的散熱器。
分立電源設計方法還使測試和故障排除變得更加困難,因為輸出直接連接到卡的其余部分。過壓保護或電流限制等功能無法輕松測試,否則會冒著發生故障時卡損壞的風險,甚至輸出紋波和負載調節也不容易測量。如果出現故障,排除故障時必須考慮卡上其他電路可能已損壞的可能性。一般來說,這種類型的電源系統設計適合大批量、低成本的電路板,其中測試不那么廣泛,并且不需要故障排除和維修。
表2“標準、定制和分立電源解決方案的比較
結論
如上表 2所示,總結了每種設計方法的主要優點(以粗體顯示)和缺點,雖然電源系統的選擇取決于多種因素,但一些一般性結論是明確的。
基于標準模塊的解決方案提供了良好的靈活性和短的設計時間,但可能價格昂貴。在另一個極端,分立解決方案成本,但設計、制造和測試更加困難。在許多應用中,定制電源模塊可以提供良好的平衡,具有出色的性能,并且易于制造,且成本比標準模塊更低。
免責聲明:本文為轉載文章,轉載此文目的在于傳遞更多信息,版權歸原作者所有。本文所用視頻、圖片、文字如涉及作品版權問題,請聯系小編進行處理。
推薦閱讀:
使用SiC MOSFET和Si IGBT柵極驅動優化電源系統


