- 本文重點闡述為便攜式產品選擇模擬開關時需考慮的設計參數和關鍵事項
- 低導通電阻是模擬開關在音頻切換用途時的主要選擇因素
- 英聯電子的低ICCT系列模擬開關省去電平轉換模塊,有效降低成本
- 通過在開關斷開時接通一個去噪電阻來快速釋放電荷可提高音頻切換質量
- 英聯電子的高隔離度模擬開關采用T-Switch結構,有效實現了信號隔離,抑制了信號串擾
在便攜式產品設計中,模擬開關一直以來都主要是作為音頻信號切換器來使用。隨著雙卡雙模手機的普及,模擬開關成了雙卡切換必備的選擇;最新的數字電視DVB,CMMB等在一定的條件下也需要使用模擬開關。那么選擇這些開關時需要注意哪些設計問題呢?本文重點闡述為便攜式產品選擇模擬開關時需考慮的設計參數和關鍵事項。
導通電阻與平坦度
低導通電阻是模擬開關在音頻切換用途時的主要選擇因素。值得注意的是,導通電阻是針對具體的VCC 、VIN(電壓輸入)及給定負載電流而定義的。在晶體管級,RON為起始長度(L)、寬度(W)、電子與空穴遷移率、氧化層電容、門限電壓及信號電壓的函數。如下所示:

RON會隨著電源電壓的增加而減小。圖1顯示了上海英聯電子科技有限公司(下文簡稱英聯電子)的UM4684在不同電源電壓上測得的RON。導通電阻平坦度(RFLAT)即表示RON隨著VIN在0V至VCC或V-至V+)間變化而變化的情況,它是引起THD的主要原因。

帶寬、串擾與隔離度
隔離度是用來衡量開關導通通道與關閉通道之間的“噪聲”的指標。它在指定頻率上測量,是關閉通道輸入與輸出之間的耦合。串擾是模擬輸入通道與另一通道之間的交叉耦合,有兩種形式:鄰近通道與非鄰近通道。這兩種參數都以dB表示。在電路設計中通常是一起考慮串擾、隔離度與帶寬指標。雖然某些模擬開關的輸入帶寬高達數百兆赫,但其帶寬指標本身的意義并不大,因為高頻下的關斷隔離度和串擾都明顯變得更糟糕。
例如,在1MHz頻率下的典型開關關斷隔離度為70dB,典型的串擾為-85dB。由于這兩項指標都按20dB/+倍頻下降,所以在100MHz頻率下,關斷隔離度下降為30dB,而串擾增加到-45dB。因此,僅僅考慮帶寬是不夠的,必須考慮在高頻工作條件下這兩項指標是否都能滿足應用要求。
提升模擬開關性能
a. 低ICCT
便攜式產品通常由電池供電,因此功耗是選擇模擬開關時的一個重要考慮因素。大部分便攜式系統需要多種不同的供電電壓。模擬開關的供電可能來自于電池或經過電源管理模塊調節過的電源輸出,開關的控制輸入信號也可能來自于電源電壓不同的ASIC。當控制輸入電壓等于0或VCC時,CMOS控制電路的功耗非常低。
但對模擬開關而言,只要控制信號輸入電平保持在大于VIH最小值或者小于VIL最大值,開關便會識別控制信號的高低電平。此時控制電壓離0和VCC越遠,功耗越大,如圖2中的紅色曲線所示。更新的ASIC設計逐步走向更小幾何尺寸的工藝,這限制了它們的電壓裕量,因此在新的系統設計中,驅動控制管腳的電壓不再等于模擬開關的供電電壓。如果使用普通的模擬開關,開關電流消耗通常大于1mA,這將導致過多功耗。

對于某些開關,電流消耗甚至高達幾毫安,對功耗敏感的便攜式設備而言,這樣的功耗是無法接受的。大多數標準模擬開關的產品說明書只給出了典型情況下(即開關輸入控制信號的高電平與開關供電電壓一致)的功耗指標,這容易讓設計工程師感到混淆,他們會驚奇地發現在低壓ASIC設計中的模擬開關竟有幾毫安的漏電流。英聯電子的模擬開關改善了控制電路的輸入緩沖器,只要芯片的控制輸入電壓大于VIH或小于VIL內,而不是等于0V或VCC,也能保持非常小的功耗。從圖2可看到采用該技術的英聯電子UM3157模擬開關與普通的同系列模擬開關在ICCT上的顯著區別。 [page]
此外,英聯電子的低ICCT系列模擬開關具有更低的VIH電平值,可以采用較低的控制電平實現開關的高電平切換控制。這種特性大大減少了電路復雜性,特別是在供電電源和控制信號電平不匹配的便攜產品應用中,可省去電平轉換模塊,從而有效降低了成本。以圖3所示的模擬開關切換音頻信號為例,如果采用ASIC輸出的1.8V電平作為UM3157控制管腳的輸入,則不必采用電平轉移器,就能在漏電流很小的情況下實現開關切換。此外,由于低ICCT模擬開關的電流功耗很低(大約1uA),且開關的導通電阻隨工作電壓的增加而降低,所以可以采用較高的供電電壓來實現更低的導通電阻。低導通電阻對典型的音頻開關或USB應用而言非常重要。

b.終端電阻
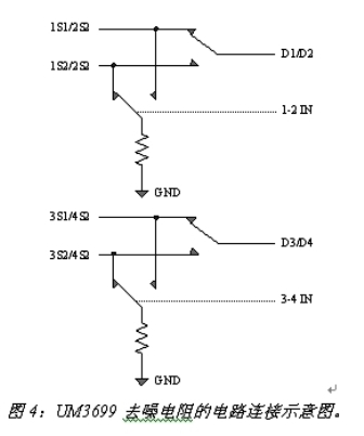
在音頻電路中,當模擬開關斷開時,由于寄生電容和電容失配,電容上的電荷無法釋放,從而導致耳機上的噪聲。可以通過在開關斷開時接通一個去噪電阻,來快速釋放電荷,從而提高音頻切換質量。圖4是英聯電子的UM3699在開關切換時去噪電阻的連接示意圖。

圖5是沒有采用去噪聲電阻時模擬開關的仿真波形圖。D1為輸入的數據信號。IN為選擇端信號。當IN為高電平時,開關通向1S1;當IN為低電平時,開關通向1S2。當開關斷開時,由于寄生電容和選擇端切換脈沖的存在,開關到地之間是高阻態,所以寄生電容的電荷沒有放電回路。這樣,開關的關斷端在較長的時間內將出現一個比輸入數據信號更高的電平,從而導致噪聲。圖6是采用圖4中的去噪電阻后開關切換的仿真波形圖。由于開關斷開后連接了去噪電阻上,形成一個對地的放電回路,所以寄生電容上的電荷得以很快釋放,從而消除了開關切換時的干擾電平,提高了開關在音頻切換應用時的聲音質量。


c.T-Switch結構
隔離度和串擾作為模擬開關的又一項重要性能指標,在高頻率信號的切換中越來越受到人們的關注。英聯電子的高隔離度模擬開關采用T-Switch結構,有效實現了信號隔離,抑制了信號串擾。圖7是T-Switch結構圖。當開關導通時,內部的S1、S3閉合,S2斷開,從而實現信號的有效傳輸;當開關斷開時,S1、S3斷開,S2 閉合,這樣輸入端-Cs-地形成了一條耦合回路,同時由于兩個Cs導通寄生電容的存在,輸入信號更難耦合到信號輸出級,這樣提高了開關的隔離度和抗串擾能力。





